
Ford is patenting drone docking on cars
Food deliveries during traffic jams, anyone?
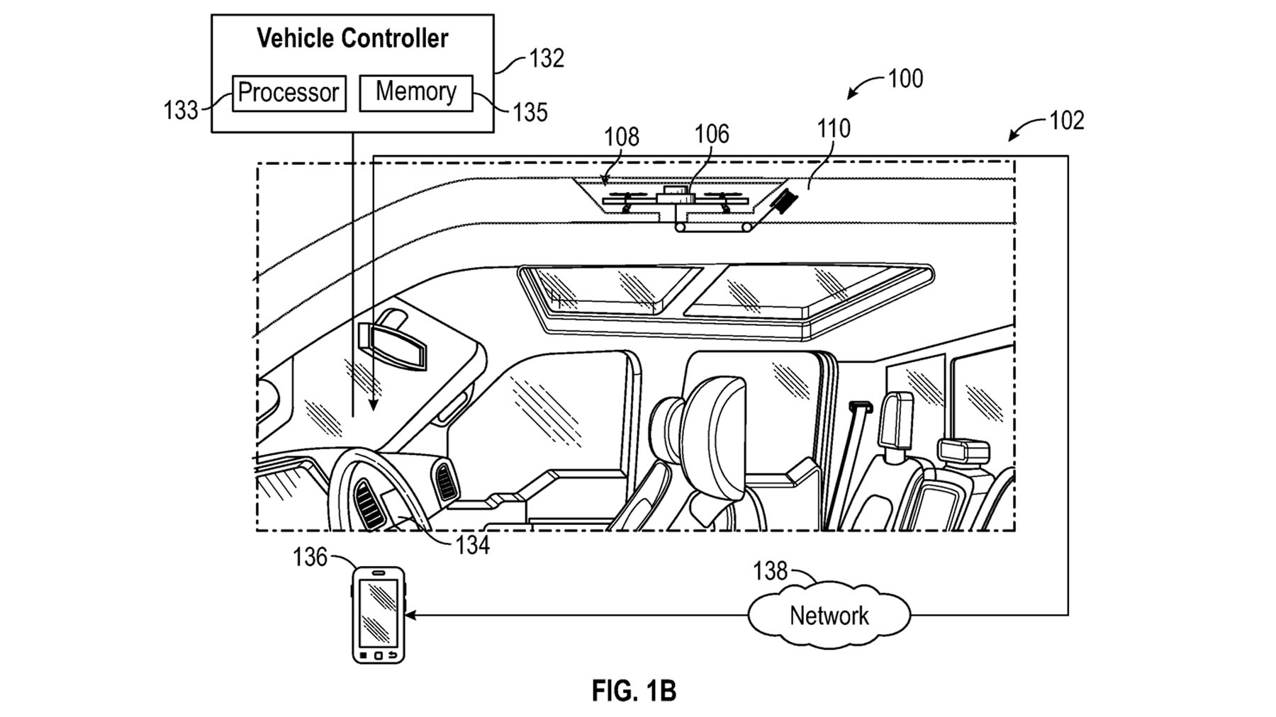
Ford is looking at the myriad ways drones could be part of a vehicle. Researchers from the car maker’s Global Technologies subsidiary had a bunch of drone-related patents recently accepted. While not all will come to fruition, the drawings accompanying the patent applications make for fascinating study.
The images depict various concepts providing added safety, comfort and convenience to vehicle occupants. One includes an unmanned aerial vehicle (UAV) - to give the drone its official title - being deployed from the back of a Ford F-150 as a safety measure. The drone, stored in the ‘vehicular drone storage compartment', would activate in a crash, sound an alarm and shine a light to alert emergency responders.
Another sees a drone docking station being put onto the car so in the event of a traffic jam, the drone could, for example, make a food delivery. Another sees the drone checking the road conditions further up the route and passing that information back to the car’s computer, or to the road infrastructure, e.g. traffic lights.
Patenting solutions around the use of drones in public spaces means Ford's researchers are considering how to use drones effectively without creating further safety issues. Such detail includes equipping the drone with the ability to identify an ‘emergency condition’ i.e. a crash risk and transmitting a warning message to the car and/or the owner. They also consider how the UAV would land on the back of a moving vehicle.
Ford has been showing an interest in the symbosis of vehicles and drones for a while, including patenting a drone that has a santisation arm and could be targeted at ride-share operators. The car brand doesn’t expect these potential solutions to stay land-based either, citing in one patent integration with water vehicles.
Speedboats and drones? Sounds like our kind of fun.
Top Gear
Newsletter
Thank you for subscribing to our newsletter. Look out for your regular round-up of news, reviews and offers in your inbox.
Get all the latest news, reviews and exclusives, direct to your inbox.
Trending this week
- Fail of the Century
Fail of the Century: 42 of the worst cars from 2000 to now
- Long Term Review
Learning to slide a motorbike is terrifying and addictive






